摘要:2006年一級建造師考試真題答案_2006年一級建造師《通信與廣電》考試真題及答案(完整版)。
2006年一級建造師考試通信與廣電科目真題及答案(完整版)由希賽網為一級建造師通信與廣電考試考生整理。更多資訊可查看一級建造師通信與廣電考試頻道。
一、單項選擇題(共20題,每題l分。每怒的備選項中,只有1個最符合題意)
1.第三代移動通信WCDMA標準是在(B)移動通信技術的基礎上發展起來的。
A.TD-SCDMA
B.GSM
C.IS-95CDMA
D.CDMA2000
2.數字移動通信系統只有采用(D)才具有軟越區切換功能。
A.空分多址方式
B.時分多址方式
C.頻分多址方式
D.碼分多址方式
3.我國數字同步網中定時基準信號采用(B)傳輸。
A.SDHl55Mb/s專線
B.PDH2Mb/s專線
C.PDH8Mb/s帶業務電路
D.PDH140Mb/s專線
4.通信局站用閥控免維護鉛酸蓄電池中,電解液是(A)溶液。
A.硫酸
B.鹽酸
C.硝酸
D.醋酸
5.廣播短波發射天線主要特性參數有天線效率、工作頻率范圍、仰角和(C)等。
A.微分增益
B.頻響特性
C.方向性系數
D.非線性失真
6.廣播擴聲系統采用定壓式功率放大器的目的是(D)。
A.穩定供電電壓
B.穩定擴聲的聲壓級
C.穩定信號電壓
D.增加傳輸距離
7.太陽能直流供電系統由太陽電池列陣、儲能裝置、(A)和負載組成。
A.配電盤
B.整流器
C.逆變器
D.濾波器
8.架空光纜線路在雷害特別嚴重地段采用(B)措施防雷。
A.與電桿連接
B.裝設架空地線
C.絕緣處理
D.穿管保護
9.光纜線路工程中繼段應測試(B)。
A.光纖反射損耗
B.光纖接頭損耗
C.光纖模場直徑
D.光纖抗張強度
10.綜合布線是由線纜和相關(B)組成的信息傳輸通道。
A.傳輸介質
B.接點設備
C.連接件
D.信息網絡
希賽輔導:一建輔導培訓火熱招生中!網絡課堂+課程錄播+在線答疑+真題模擬 馬上點擊進入試聽>>
問題咨詢:可撥打客服電話400-111-9811或點擊QQ在線咨詢 點此咨詢>>
{#page#}
11.廣播電視中心通常采用10kV供電,10kV用電設備處的電壓偏差允許值為(C)。
A.±2.5%
B.±5%
C.±7%
D.±l0%
12.進行波分復用設備調測時,應測試光纖放大器(OA)的(A)。
A.輸出光功率
B.信道隔離度
C.輸入抖動容限
D.輸出抖動
13.穿越錄音室、演播室的給排水及消防系統的管道均應采取(C)措施,防止管道固體傳聲。
A.消聲
B.軟連接
C.隔振
D.雙級減振
14.基站饋線安裝中,饋線彎曲半徑應大于等于饋線外徑的(C)倍。
A.10
B.15
C.20
D.25
15.群時延特性屬于衛星通信系統中(B)的測試內容。
A.波導
B.變頻器
C.高功率放大器
D.低噪聲放大器
16.廣播電視建設項目送審設計文件里的建筑圖應包括(A)。
A.平面圖
B.系統原理圖
C.系統方框圖
D.設備位置圖
17.通信建筑安裝工程中涉及到土建項目時,按(D)頒發的工程概算、預算定額和費用定額編制工程概算、預算。
A.信息產業部
B.發改委
C.各省、自治區、直轄市通信管理局
D.各省、自治區、直轄市建設行政管理部門
18.設計概算是(C)的重要組成部分。
A.項目建議書
B.可行性研究報告
C.初步設計
D.施工圖設計
19.綜合通信大樓的接地方式,應按(A)的原理設計。
A.單點接地
B.多點接地
C.重復接地
D.復合接地
20.根據《廣播電影電視工程建筑抗震分級標準》,地、市級廣播電臺的主體建筑屬于(C)類抗震設防建筑。
A.甲
B.乙
C.丙
D.丁
希賽輔導:一建輔導培訓火熱招生中!網絡課堂+課程錄播+在線答疑+真題模擬 馬上點擊進入試聽>>
問題咨詢:可撥打客服電話400-111-9811或點擊QQ在線咨詢 點此咨詢>>
{#page#}
二、多項選擇題(共l0題,每題2分。每題的備選項中,有2個或2個以上符合題意。至少有1個錯項。錯選,本題不得分;少選。所選的每個選項得0.5分)
21.對電信網絡按服務對象進行分類,可分為(CE)。
A.數據通信網
B.光纜通信網
C.公用通信網
D.本地通信網
E.專有通信網
22.SDH系統有(ABDE)等基本網絡單元。
A.終端復用器(TM)
B.分插復用器(ADM)
C.2/34Mb/s跳級復用器
D.再生中繼器(REG)
E.同步數字交叉連接設備(SDXC)
23.電視節目前期制作需使用(BD)。
A.配樂設備
B.錄像機
C.電子編輯設備
D.切換矩陣設備
E.字幕機
24.關于通信機房設備抗震加固的說法中,正確的有(ABD)。
A.在機房懸空的木地板下加裝金屬支撐座
B.用槽鋼將整列機架連為一體后,加固在立樁上
C.抗震支架不要求橫平豎直,但連接處要牢固
D.用鋁型材將整歹哇機架連為一體后與抗震支架連為一體
E.抗震加固墻終端如遇玻璃窗,可與窗框連接加固
25.通信電源直流供電系統的設備包括(ABC)。
A.整流器
B.蓄電池
C.直流變換器
D.降壓變壓器
E.逆變器
26.波分復用設備測試項目包括(ABDE)。
A.波長轉換器光發送眼圖
B.OTU抖動傳遞特性
C.支路口映射抖動
D.合波器插入損耗
E.光監測信道(OSC)輸出光功率
27.單、雙聲道調頻發射機相同的測試項目包括信雜比、輸出功率和(AE)等。
A.非線性失真
B.整機效率
C.噪聲電平
D.載波跌落
E.音頻振幅-頻率特姓
28.廣播電視塔桅架設安裝前的技術準備包括:施工人員配備、(ABCD)等。
A.施工機具配備
B.安全防范措施
C.安裝程序和方法
D.技術交底
E.施工合同評審
29.根據《中華人民共和國電信條例》規定,(ABC)屬于危害電信網絡安全和信息安全的行為。
A.擅自對電信網的功能或亳爭存儲、處理、傳輸的數據和應用程序進行刪除或或修改
B.利用電信網從事竊取或者破壞他人信息、損害他人合法權益的活動
C.故意翩作、復制、傳播計算機病毒或者以其它方式攻擊他人電信網絡等電信設施
D.以虛假、冒用的身份證件辦理入網手續并使用移動電話
E.盜接他人電信線路,復制他人電信號碼
30.《工程建設標準強制性條文》(信息工程部分)規定,縣級及以上的電信建筑應在(ABE)設火災自動報警系統。
A.電信機房
B.電纜進線室
C.疏散走道
D.餐廳
E.休息室
希賽輔導:一建輔導培訓火熱招生中!網絡課堂+課程錄播+在線答疑+真題模擬 馬上點擊進入試聽>>
問題咨詢:可撥打客服電話400-111-9811或點擊QQ在線咨詢 點此咨詢>>
{#page#}
三、案例分析題(共5題,(一)、(二)、(三)題各20分,(四)、(五)題各30分)
(一)背景資料
某施工單位承擔了一項通信管道工程,工程內容為在城區部分路段建設塑料管道。管道基礎用水泥混凝土制作,管道用水泥混凝土包封,混凝土采用攪拌機現場攪拌。工程中需要切割瀝青混凝土路面;由于部分施工地段地下水位高,開挖管道溝槽和入孔坑時需降水,降水使用燃油抽水機;回填管道溝時要求夯填。
為避免施工過程中管道溝槽坍塌、回填后路面下沉、管孔不通、入孔壁灰層剝落等情況發生,該施工單位進行了詳細的工前策劃,設置了質量控制點,制定了安全和環保措施。在進行安全及技術交底時明確了工程概況、施工方案、“三新”技術、對成品和半成品的保護措施。本工程順利實施。
問題
1.根據工程特點,該施工單位應對哪些工序加以重點控制?
2.本工程所進行的安全及技術交底還應包含什么內容?
3.識別本工程的環境因素。
4.管道施工作業時,應注意哪些安全防護?
答案:
1.(本小題5分)
(1)管道基礎;
(2)塑料管鋪設;
(3)回填土方、夯填;
(4)入孔內井壁抹灰;
(5)管道試通;
(6)管道溝槽的支護或放坡。(答出1項1分)
2.(本小題5分)
(1)安全措施;
(2)關鍵工序和質量控制點;
(3)施工工藝;
(4)質量通病預防及注意事項;
(5)施工中的危險因素、可能造成的傷害以及預防措施。(各1分)
3.(本小題5分)本工程環境因素
(1)路面切割機工作時的噪聲和揚塵;
(2)開挖管道溝槽時的揚塵;
(3)發電機、抽水機工作時的廢氣和噪聲;
(4)清洗攪拌機產生的污水、攪拌機裝料時產生的揚塵;
(5)打夯機產生的噪聲。(各1分)
4.(本小題5分)
(1)臨時用電設施安裝漏電保護裝置(1分);
(2)公路上施工設警示標志(2分);
(3)管道溝槽壁支護牢固(2分)。
希賽輔導:一建輔導培訓火熱招生中!網絡課堂+課程錄播+在線答疑+真題模擬 馬上點擊進入試聽>>
問題咨詢:可撥打客服電話400-111-9811或點擊QQ在線咨詢 點此咨詢>>
{#page#}
(二)背景資料
某公司承接SDH光通信終端站設備安裝工程。施工過程中,因建設單位提供的DDF架寬度不符合設計要求造成停工一周,新DDF架到貨后項目部很快完成了所有硬件安裝。項目經理在現場巡查時,偶然發現ODF的防雷地線未接,提醒一施工人員接上。幾天后,材料員清點材料時,發現用于防雷保護的l6mm2線料沒有使用,核查結果是防雷地線用錯線料,項目經理派人進行了更換。
工程完工后,公司組織交工前的預驗,檢查中發現:架高2.6m的DDF架垂直偏差為3.4mm,3m長的過橋走道兩端高度差為8mm,2.6m高的立柱垂直偏差為2.6mm;設備線纜布
放整齊美觀,但防雷地線接到了機房保護地線端子上而未接到防雷專用端子上。項目部的竣工資料正在整理中,已準備了工程說明、建筑安裝工程量總表、交工報告、網管功能檢查記錄。公司要求盡快完成整改以便按期交工。
問題
1.根據預驗結果,指出鐵件和機架安裝工作需返工的內客并說明原因。
2.ODF防雷地線的安裝工作反映出該項目部的施工管理有何缺陷?
3.本工程竣工技術文件還應補充哪些內容?
4.指出竣工測試記錄中缺少的部分。
答案:
1.(本小題6分)
(1)DDF需要返工(1分),因偏差大于l%。(2分),不合格;
(2)過橋走道需要返工(1分),因水平偏差大于2mm/m(2分),不合格;
2.(本小題4分)
(1)沒有向施工人員做技術交底,交底制度不完善或落實不到位(2分);
(2)沒有自檢、互檢、專檢過程,制度不完善或落實不到位(2分);
3.(本小題6分)
(1)開工報告;
(2)已安裝設備明細表;
(3)停工報告;
(4)復工報告;
(5)交接書;
(6)驗收證書(各1分)。
4.(本小題4分)
(1)本機測試記錄;
(2)系統測試記錄(各2分)。
希賽輔導:一建輔導培訓火熱招生中!網絡課堂+課程錄播+在線答疑+真題模擬 馬上點擊進入試聽>>
問題咨詢:可撥打客服電話400-111-9811或點擊QQ在線咨詢 點此咨詢>>
{#page#}
(三)背景資料
某光纜線路工程進度計劃見下表:
單位:周

說明:①各項工作每周完成量相等。
②光纜接續在敷設光纜完成60%工作量時開始。
③埋設標石在敷設光纜完成60%工作量時開始。
④中繼段測試必須在光纜接續全部完成后才能開始。
⑤每周工作七天。
第五周末時各項工作完成的進度累計情況如下:

問題
1.定性分析各工序前五周每周的實際進度與計劃的關系。
2.計算第五周末各項工序實際避度比計劃進度起前或拖后多少天?(計算結果如遇小數,采用進一法)
3.若從第六周開始仍按原計劃周進度組織施工,總工期為多少天?比原計劃延長多少天?
4.光纜中繼段測試應包括哪些內容?
答案:
1.(本小題9分)
(1)敷設光纜:第-周比計劃拖后(1分),第二周與計劃相同(1分),第三周比計劃超前(1分),第四周比計劃拖后(1分),第五周比計劃拖后(1分);
(2)光纜接續:第四周比計劃拖后(1分)第五周比計劃超前(1分);
(3)埋設標石:第四周比計劃拖后(1分)第五周比計劃拖后(1分)。
2.(本小題3分)
(1)敷設光纜比原計劃拖后(100%-80%)×5×7=7(天)(1分)
(2)光纜接續比原計劃拖后(67%-40%)×3×7=6(天)(1分)
(3)埋設標石比原計劃拖后(67%-7%)×3×7=13(天)(1分)
3.(本小題3分)
(1)總工期為35+7+6+14=62(天)(2分);
(2)比原計劃延長6天(1分)。
4.(本小題5分)
(1)光纖接頭損耗;
(2)光纖線路衰耗;
(3)光纖后向散射信號曲線;
(4)PMD(偏振模色散);
(5)光纜對地絕緣。(各1分)
希賽輔導:一建輔導培訓火熱招生中!網絡課堂+課程錄播+在線答疑+真題模擬 馬上點擊進入試聽>>
問題咨詢:可撥打客服電話400-111-9811或點擊QQ在線咨詢 點此咨詢>>
{#page#}
(四)背景資料
某施工單位承擔-項基站設備安裝工程,工作內容包括:機房內基站及配套設備安裝調測,30~50米高的地面自立式鐵塔上天饋線系統安裝,接地系統安裝。工期為7月1日至8月31日。
因工期緊張,項目部招收了部分塔上作業人員,自行組織了技術和安全培訓即上崗作業;上塔前,項目部技術負責人對天饋線安裝工作進行了交底;因饋線等甲方提供的主要材料有合格證,故未對其進行檢驗直接進場使用。工地安全員檢查時,發現個別施工人員赤膊作業、隨手拋下安全帽和工具、為活動方便不系安全帶等,及時給予糾正。隨后,項目部完善了安全保護措施,至完工沒有發生安全事故。
對已安裝完成的10個站的測試中,發現多個站天饋線指標不合格,項目部通過分析找到了不合格原因,制定了糾正措施,后續的測試沒有發現類似問題。
問題
1.指出至少5個安裝天饋線的質量控制點。
2.用因果分析圖法分析天饋線測試指標不合格的原因。
3.識別施工人員的不當行為可能引發的安全事故。
4.說明本工程安全保護措施應包含的內容。
5.說明接地系統作用及其室外部分包括的內容。
答案:
1.(本小題5分
(1)天線固定;
(2)天線位置;
(3)天線方向;
(4)饋線防水;
(5)饋線固定;
(6)饋線彎曲度;
(7)饋線接頭;
(8)饋線接地。(1項得1分)
2.(本小題6分)

(畫對圖1分,標出“人”、“機”、“料”、“法”、“環”且有合理分析各1分)
3.(本小題6分)
(1)強紫外線對人體傷害;
(2)人員高處墜落摔傷;
(3)高處落物傷人(各2分)。
4.(本小題8分)
(1)進行安全教育和安全技術交底;
(2)塔上作業人員須經專門的安全培訓,取得資格證書后上崗;
(3)作業人員佩戴安全防護用品;
(4)劃定塔下安全禁區;
(5)高溫時段和6級以上大風時停止塔上作業(每答對1項2分)。
5.(本小題5分)
(1)作用是迅速泄放雷電引起的強電流(2分);
(2)建筑物接地(1分)、天線鐵塔接地(1分)、天饋線接地(1分)。
希賽輔導:一建輔導培訓火熱招生中!網絡課堂+課程錄播+在線答疑+真題模擬 馬上點擊進入試聽>>
問題咨詢:可撥打客服電話400-111-9811或點擊QQ在線咨詢 點此咨詢>>
{#page#}
(五)背景資料
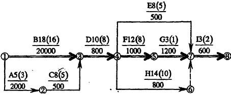
某光纜線路工程采用直埋敷設方式。開工前,施工單位辦理了施工許可證,根據現場考察情況,確定了辦公地點等臨時設施。為了保證工程的順利實施,制定了質量、安全等制度,編制了施工組織設計。工序安排見下圖,圖中字母是工作代號,字母后的數字為該工作的正常工作天數,括號內的數字為該工作的最短工作天數,橫線下方的數字為本工作壓縮1天所增加的費用,單位為元。該工程合同工期等于計算工期。

問題
1.施工單位的現場準備工作還應包括哪些內容?
2.在工程開工至交付階段,施工單位應如何做才符合質量行為規范的要求?
3.編制本工程雙代號網絡計劃圖(只設1個開始節點),用雙箭線標出關鍵路徑,并計算工期。
4.當工程措行列第23天時。A、B、C工作已完成。其它工作尚未開始,此時實際進度比計劃延誤多少天?為使總工期滿足合同要求,增加的總費用最少,需要對以后的部分工作的時間進行壓縮,寫出壓縮步驟并計算增加費用,畫出最終壓縮后的網絡圖,并用雙箭線標出關鍵路徑。
5.檢查時發現部分標石符號使用有誤。第23至26塊標石的符號如下圖,指出錯誤所在,并寫出標石符號所表示的正確內容。

答案:
1.(本小題4分)
(1)建立分屯點;
(2)材料進場檢驗;
(3)光纜配盤;
(4)地質條件考察及路由復測(各1分)。
2.(本小題6分)
(1)進行材料進場檢驗;
(2)按合同標準及規范要求施工;
(3)自覺接受質量監督;
(4)提供完整準確的竣工資料(答對l項2分)。
3.(本小題8分)

或

(圖3分,關鍵路徑3分,共6分)該工程工期為46天(2分)。
4.(本小題8分)23-18=5(天)
此時實際進度比計劃延遲5天。(1分)
第一步:壓縮I工作1天,增加費用600元(1分)
第二步:壓縮D工作2天,增加費用2×800=1600元(1分)
第三步:壓縮F工作1天,增加費用l000元(1分)
第四步:同時壓縮F工作和H工作l天,增加費用l000+800=1800(元)(1分)
共增加費用:600+1600+1000+1800=5000(元)(1分)最終壓縮后的網絡圖如下:(2分)或5.(本小題4分)
第23塊錯(1分),表示普通接頭標石(1分)。
第24塊錯(1分),表示監測標石(1分)。
希賽輔導:一建輔導培訓火熱招生中!網絡課堂+課程錄播+在線答疑+真題模擬 馬上點擊進入試聽>>
問題咨詢:可撥打客服電話400-111-9811或點擊QQ在線咨詢 點此咨詢>>
一級建造師備考資料免費領取
去領取
2026年一級建造師考試
具體時間待公布
專注在線職業教育24年